単位 : mm
| 品番 | M(並目) ねじの呼び |
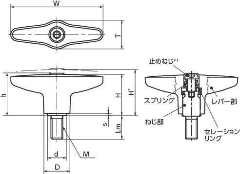
ピッチ | Lm | W | H | H' | h | s | T | D | d | 歯数 | 最大荷重*1 (N) |
最大締付力*1 (kN) |
質量 (g) |
本体 カラー |
価格 (円) |
税込 価格 |
CAD ダウンロード |
標準品を購入 | 在庫/非在庫 |
|---|---|---|---|---|---|---|---|---|---|---|---|---|---|---|---|---|---|---|---|---|---|
| LUDMS-93-12-63-YW | M12 | 1.75 | 63 | 93 | 41 | 45 | 43 | 3 | 28.5 | 26 | 19 | 28 | 580 | 16 | 143 | YW | 2,790 | 3,069 | CAD | カート | 在庫品 |
*1: 最大荷重・最大締付力の定義は「クランプレバー・テンションレバーの使用方法について」をご参照ください。⇒クランプレバー・テンションレバーの使用方法について
LUDMS-93-12-63-YWの材質・仕上げ
| LUDMS | |
|---|---|
| レバー部 | ナイロン6(各色) |
| ねじ部 | SUS303 |
| 止めねじ | ステンレス |
| セレーションリング | 亜鉛ダイカスト |
| スプリング | ステンレス鋼線 |
LUDMS-93-12-63-YWの特長
- ダブルアームタイプのプラスティック製クランプレバー。
- ユニバーサルデザインの7原則に配慮して設計。力がかかりやすく、操作しやすい形状です。
- ユニバーサルデザインについて⇒UDEX®シリーズ
- 回し半径は従来のプラクランプレバーの約半分。省スペース。
- 亜鉛ダイカスト製のセレーションリングをプラスティック製レバー本体にインサート。金属製のねじのセレーションとのかみ合いにも充分な強度を実現しています。
-
ねじ部の材質は2種類。
LUDM----スティール製
LUDMS----ステンレス製 - M3-M12の豊富なねじサイズ。
- 機械・装置のカラーユニバーサルデザイン化をサポートする5色カラーバリエーション。ダークグレーと各色との美しいツートンカラー。
- 品番の末尾記号により、レバー部の色が選択できます。
| 末尾記号 | レバー部の色 |
|---|---|
| BK | つや消し黒 |
| SG | つや消しシルバー |
| OR | つや消しオレンジ |
| BL | つや消しブルー |
| YW | つや消しイエロー |












